1 850 ₴
Отримайте цю позицію безкоштовно при покупці «Гідророзподільник В71-33А (В71-33М)»
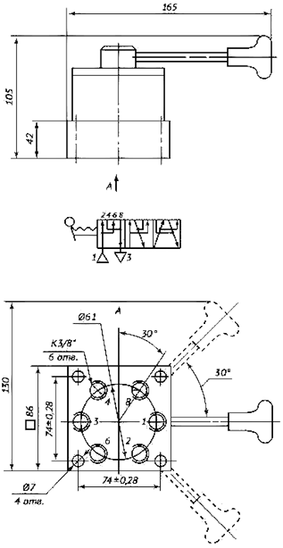
В71-33А (В71-33М) — це пневматичний крановий розподільник трипозиційний шестилінійний, призначений для зміни напрямку потоку стисненого повітря у пневматичних приводах. Він працює на стислому повітрі з додаванням невеликої кількості мінеральної оливі. Управління здійснюється вручну за допомогою плоского золотника. Монтаж розподільника допускається у будь-якому положенні. Кріплення здійснюється через отвори, розташовані на торці основи. Можливе встановлення розподільника з пневматичними глушниками. При монтажі пневморозподільники фіксуються за допомогою чотирьох гвинтів, які встановлюються у передбачені монтажні отвори. Всього передбачено чотири кріпильні точки.
Даний механізм розрахований на експлуатацію у зонах помірного та прохолодного клімату з температурою навколишнього середовища до +50°C.
Пневморозподільники повинні експлуатуватися на стиснутому повітрі, очищеному не грубіше 10-го класу забрудненості. Повітря повинне містити розпилену олію з кінематичною в'язкістю від 10 до 35 сСт, виміряною при температурі +50 °C. Концентрація масла, що рекомендується, — 2–4 краплі на 1 м³ повітря, приведеного до нормальних умов.
|
Характеристика |
Значення |
|
Умовний прохід |
10 мм. |
|
Номінальний тиск |
1,0 МПа. |
|
Пропускна здатність |
1,6 м3/ч. |
| Приєднувальне різьблення | КЗ/8” |
|
Кількість ліній/позицій |
6/3 |
|
Маса |
900 гр. |

Компанія ТОВ «Промислова гідравліка» займається гідравлічним обладнанням. Даний розподільник можна придбати у нашій компанії.
Компанія ТОВ «Промислова гідравліка» пропонує:
У нас існують різні види оплати:
Якщо вам потрібна безкоштовна консультація або вас цікавить якесь питання, ви можете скористатися такою формою зв'язку як:
Чекаємо на ваші дзвінки та замовлення.
| Основні атрибути | |
|---|---|
| Країна виробник | Україна |
| Гарантійний термін | 12 міс |
| Користувальницькі характеристики | |
| Матеріал корпусу | Алюміній |
| Тиск | 1МПа |